Apple's Project Titan, the codename for its vehicular efforts, has changed wildly in scope over the last few years, and it's generally unclear what the company hopes to do now in the automotive industry. Nevertheless, it's still receiving patents, and it was recently granted one for a system that, depending on the project's current direction, may never see the light of day.
Apple was granted a patent this week for a "Suspension architecture for [a] steer-by-wire vehicle," as first noted by the aptly named Patently Apple. At its simplest, it's basically a layout for a suspension system that comes connected to a vehicle packing a steer-by-wire system, which does not use physical linkages to translate steering-wheel motion into turning. In this case, it's likely engineered for use in an autonomous vehicle.
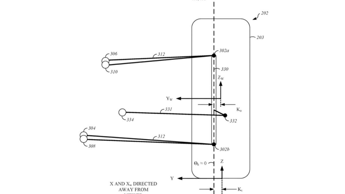
It's a difficult patent to read without an engineering degree, but the gist of the patent lies within a few key parts of the suspension layout, which Apple believes could improve upon suspensions used in modern human-driven vehicles. As MotorAuthority points out, the arrangement of the suspension and steering result in a zero-degree caster inclination angle, which would all but eliminate the tendency of a steering wheel to return to center while turning. Nixing this self-centering predisposition could, according to the patent, reduce rolling resistance and improve tire wear. It also has the side effect of eliminating steering feel, but AV software doesn't really care about that kind of ancillary stuff.
Apple also notes other benefits in its patent. When discussing the unique suspension and steering setup, the tech giant believes that its solution could allow for smaller or lighter components in both the steering and suspension systems, improving efficiency and packaging.
Like many patents from automakers and other companies, there's no guarantee that what's seen here will ever reach an actual product. Apple has produced several notable automotive patents in the past, including wearables that deactivate while driving, physical connections that allow platooning AVs to share battery power and biometrics that would replace the usual car key.
(Hat tip to MotorAuthority!)


