Apple won several patents on Tuesday, including one that covers wireless charging.
Apple's patent win with the US Patent and Trademark Office (USPTO) describes a method by which consumers can power up everything from desktops to mobile devices with a wireless charger.
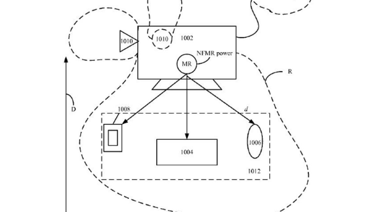
The patent, which was reported on earlier by Patently Apple, includes a diagram showing a desktop computer, along with a keyboard, mouse, and portable music player, being charged on a "virtual charging area." In terms of Apple products, the diagram appears to be showing devices similar to the iMac and iPod, along with an Apple Wireless Keyboard and Magic Mouse. According to the patent, the technology uses a near-field magnetic resonance power supply that communicates with the charging area and charges the device.
Wireless charging is nothing new, of course. Several companies have already delivered wireless charging solutions, but Apple has stubbornly stuck to cords. For well over a year, rumors have suggested Apple would move to wireless charging. Several other patent awards have also hinted at such a move.
Aside from its wireless-charging patent, Apple was also awarded a host of design patents, including one for the upcoming Mac Pro. That computer, which comes with a cylindrical design, is expected to launch later this month. Apple also won patents on the Apple TV and third-generation iPad featuring Wi-Fi and 4G LTE.
As with most other companies, Apple often files for patents on technologies that might never come out. Just because the company has been awarded a patent on wireless charging, it's important to remember that the embodiment featured in that patent might not make its way to store shelves.



